欧冠历届冠军名单及夺冠次数详细版(最新)
欧冠冠军荣誉是各队在这项俱乐部最高水平赛事中的终极目标,但赢得该项奖杯是存在挑战性的。欧冠历史上不乏一些赢得欧冠冠军的队伍,一些队伍甚至多次赢得欧冠冠军。这份欧冠历史冠军名单将带来1955/56赛季至今的最新数据更新,来看看欧冠历届冠军得主。

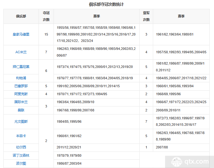
欧冠历届冠军名单
赢得欧冠冠军的球队:
欧冠冠军球队荣誉榜单显示,至今赢得欧冠冠军奖杯的球队共计42队,包括皇家马德里、AC米兰、拜仁慕尼黑、利物浦、巴塞罗那、阿贾克斯、国际米兰、曼联、尤文图斯、本菲卡、切尔西、诺丁汉森林、波尔图、多特蒙德、凯尔特人、汉堡、布加勒斯特星、马赛、曼城、巴黎圣日耳曼、费耶诺德、阿斯顿维拉、PSV埃因霍温、贝尔格莱德红星、马德里竞技、兰斯、瓦伦西亚、佛罗伦萨、法兰克福、贝尔格莱德游击、帕纳辛奈科斯、利兹联、圣埃蒂安、门兴格拉德巴赫、布鲁日、马尔默、罗马、桑普多利亚、勒沃库森、摩纳哥、阿森纳和托特纳姆热刺。纵观欧冠冠军得主,历史上还是不少球队染指过这一荣誉,这将是各队在荣誉榜单上的一大成就,接下来各队将朝着刷新彼此在欧冠冠军次数的更进一步目标。
欧冠冠军次数统计:
时至今日赢得欧冠冠军数最多的球队为皇马,皇马凭借着15次欧冠夺冠排名第1,他们也是仅有的一支赢得欧冠冠军次数达到10次以上的俱乐部。AC米兰历史上共夺得欧冠冠军次数7次排名第二,拜仁慕尼黑和利物浦各6次夺冠排名第三。巴塞罗那5次、阿贾克斯四次分别排名第四和第五位,国际米兰和曼联各三次并列排名第六位,尤文图斯、本菲卡、切尔西、诺丁汉森林、波尔图各赢得欧冠冠军2次并列排名第七位。至于剩下赢得欧冠冠军的球队,他们目前的冠军数均定格在1次。

欧冠历届冠军名单
欧冠历届冠军名单:
1955/56 皇家马德里
1956/57 皇家马德里
1957/58 皇家马德里
1958/59 皇家马德里
1959/60 皇家马德里
1960/61 本菲卡
1961/62 本菲卡
1962/63 AC米兰
1963/64 国际米兰
1964/65 国际米兰
1965/66 皇家马德里
1966/67 凯尔特人
1967/68 曼联
1968/69 AC米兰
1969/70 费耶诺德
1970/71 阿贾克斯
1971/72 阿贾克斯
1972/73 阿贾克斯
1973/74 拜仁慕尼黑
1974/75 拜仁慕尼黑
1975/76 拜仁慕尼黑
1976/77 利物浦
1977/78 利物浦
1978/79 诺丁汉森林
1979/80 诺丁汉森林
1980/81 利物浦
1981/82 阿斯顿维拉
1982/83 汉堡
1983/84 利物浦
1984/85 尤文图斯
1985/86 布加勒斯特星
1986/87 波尔图
1987/88 PSV埃因霍温
1988/89 AC米兰
1989/90 AC米兰
1990/91 贝尔格莱德红星
1991/92 巴塞罗那
1992/93 马赛
1993/94 AC米兰
1994/95 阿贾克斯
1995/96 尤文图斯
1996/97 多特蒙德
1997/98 皇家马德里
1998/99 曼联
1999/2000 皇家马德里
2000/01 拜仁慕尼黑
2001/02 皇家马德里
2002/03 AC米兰
2003/04 波尔图
2004/05 利物浦
2005/06 巴塞罗那
2006/07 AC米兰
2007/08 曼联
2008/09 巴塞罗那
2009/10 国际米兰
2010/11 巴塞罗那
2011/12 切尔西
2012/13 拜仁慕尼黑
2013/14 皇家马德里
2014/15 巴塞罗那
2015/16 皇家马德里
2016/17 皇家马德里
2017/18 皇家马德里
2018/19 利物浦
2019/20 拜仁慕尼黑
2020/21 切尔西
2021/22 皇家马德里
2022/23 曼城
2023/24 皇家马德里
2024/25 巴黎圣日耳曼
本站声明:以上部分图文来自网络,如涉及侵权请联系平台删除
暂时没有评论!
推荐阅读
-
球天下5月7日讯 欧冠半决赛次回合阿森纳主场1-0击败马德里竞技,总比分2-1晋级决赛,比赛读秒阶段,马竞主帅西蒙尼与阿森纳体育总监安德烈亚·贝尔塔爆发激烈冲突,西蒙尼当众推搡贝尔塔,这一幕
-
拜仁慕尼黑vs巴黎圣日耳曼现场直播哪里看?2026欧冠半决赛次回合在线直播入口
拜仁慕尼黑VS巴黎圣日耳曼欧冠半决赛现场直播球天下体育平台看。2025-2026欧冠半决赛拜仁慕尼黑VS巴黎圣日耳曼的次回合比赛将在北京时间5月7日凌晨三点进行,这场重磅对决将带来欧冠决赛入场券获得者花落谁家的关键影响,球天下体育平台将带来图文动画在线视频免费观看,究竟谁将拿到晋级门票? -
拜仁慕尼黑将战巴黎圣日耳曼 拜仁逆转希望充足 巴黎则手握晋级主动权
欧冠半决赛次回合拜仁慕尼黑将坐镇主场迎战巴黎圣日耳曼,这场比赛将在北京时间5月7日凌晨三点进行,双方将为赢得欧冠决赛门票的最后机会而战。两支球队在欧冠半决赛首回合交手战绩单显示,巴黎圣日耳曼主场5-4 -
2025-2026欧冠决赛对阵赛程最新速递 北京时间5月31日00:00正式开打
2025-2026欧冠决赛将在北京时间5月31日00:00进行,对阵双方为巴黎圣日耳曼/拜仁慕尼黑VS阿森纳,他们将作为比赛对手在欧冠争冠战带来最高荣誉的争夺。2026-05-06 13:04 -
球天下5月6日讯 英超第35轮切尔西1-3不敌诺丁汉森林,遭遇联赛六连败,积48分跌至第九位,距离第五名阿斯顿维拉10分,仅剩3轮的情况下已彻底无缘英超前五,常规欧冠通道关闭,但理论上仍存在
-
欧冠拜仁慕尼黑VS巴黎圣日尔曼预测分析 巴黎握有1球领先优势
北京时间5月7日03:00,2025-2026赛季欧冠杯半决赛继续展开争夺,拜仁慕尼黑将坐镇主场迎来对阵巴黎圣日尔曼的第二回合争夺之战,比赛地点为安联球场。欧冠拜仁慕尼黑VS巴黎圣日尔曼预测分析拜仁慕 -
球天下5月1日讯 本周欧冠半决赛进行了首回合比赛的交锋,目前两场比赛都已经结束,欧足联也是发布了本轮欧冠的最佳阵容,在这份阵容中4支球队都有球员入选,其中巴黎圣日耳曼入选球员最多,有4名球员入选,拜仁2026-05-01 11:38
-
2025-2026赛季欧冠零封榜:拉亚8场领跑 维卡里奥6场排名第二
2025-2026赛季欧冠零封榜单显示,进入前10名的球员分别为拉亚、维卡里奥、阿利松、波普、萨福诺夫、索默、库尔图瓦、恰基尔、贾尼斯·布拉斯维希和尼欧菲托斯·迈克尔。2026-04-30 21:40 -
球天下4月30日讯 欧冠半决赛首回合阿森纳客场1-1战平马德里竞技,阿森纳前锋约克雷斯在上半场第43分钟制造点球并亲自罚入,这粒进球让他在俱乐部与国家队正式比赛中的连续点球命中纪录达到27次
-
球天下4月30日讯 2025-26赛季欧冠半决赛首回合在马德里竞技的主场大都会球场打响,阿森纳客场1-1战平马竞,这场比赛的焦点并非最终比分,而是第78分钟阿森纳替补埃泽的点球被VAR取消,

